BMW z trzycylindrowym silnikiem?

Na razie ciężko jest nawet spekulować, co mogło by powstać na takim silniku. BMW też nie odkrywa pod tym względem kart. Niektórzy jednak dopatrują się w jednym z silników W3 jednostki napędowej do nowego cruisera. Mówi się o bezpośredniej konkurencji dla Diavela, ale oczywiście na tym etapie są to jedynie pogłoski.

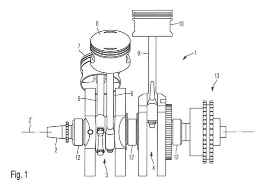
Co do samych silników wiemy, że jednostki są chłodzone powietrzem. Mają zajmować mniej więcej tyle miejsca co V-twin. Kiedy BMW zdecyduje się na wprowadzenie ich i czy rzeczywiście możemy się spodziewać cruisera W3?

KOMENTARZE
Anna Jedrasiak

Recent Posts

Zmiany w punktach karnych od 3 czerwca. MSWiA poszło na kompromis

Od 3 czerwca zmienią się zasady redukcji punktów karnych, ale Ministerstwo Spraw Wewnętrznych i Administracji poszło…

26 maja 2026

IOM TT 2026: Michael Dunlop rezygnuje z Ducati. Honda wraca do łask

Michael Dunlop w ostatniej chwili postanowił zmienić decyzję odnośnie motocykla, którym wystartuje w klasach Superbike…

26 maja 2026

MotoJunior: Milan Pawelec wygrywa w Barcelonie i prowadzi w mistrzostwach Europy Moto2

19-letni Milan Pawelec rozpoczął obronę tytułu mistrza Europy Moto2 od zwycięstwa i podwójnego podium w…

26 maja 2026

Tor Poznań – fakty i mity. O co hałas?

W kwietniu gruchnęła druzgocąca wiadomość o zamknięciu Toru Poznań, który jest jedynym profesjonalnym torem wyścigowym…

25 maja 2026

Automarket AF Racing Team wyrusza na Brno! Druga runda EuroMoto już w ten weekend

Po zwycięskiej inauguracji sezonu przed Automarket AF Racing Team pojawia się kolejne wyzwanie. Już w…

25 maja 2026

Paryż–Dakar na motocyklach. Śladami dawnych rajdów

W gronie bliskich znajomych zastanawiamy się nad kolejną wyprawą. Motocyklowo znamy się jak łyse konie,…

23 maja 2026